RFID技术的工作原理主要基于无线电通信技术,通过读写器与电子标签之间的电磁耦合实现非接触式数据交换,其核心系统由电子标签(Tag)、读写器(Reader)和应用软件三部分组成,通过特定的频率协议完成识别、追踪和数据传输功能,以下从技术架构、信号传输、数据流程及核心环节展开详细说明。

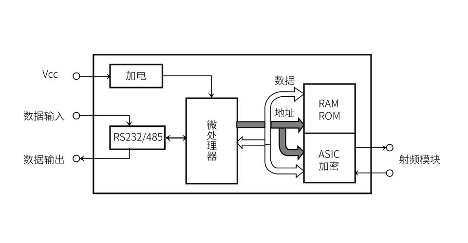
系统组成与硬件结构
-
电子标签:由耦合元件(天线)和微芯片组成,芯片存储唯一ID号或用户数据,根据供电方式分为无源标签(Passive)、有源标签(Active)和半无源标签(Semi-passive),无源标签通过接收读写器信号获取能量,体积小、成本低但有源标签自带电池,通信距离更远(可达百米),半无源标签则结合电池供电与能量 harvesting 技术以延长续航,标签封装形式多样,包括卡片型、标签型、植入型等,适应不同应用场景。
-
读写器:作为数据交互的核心设备,由射频模块、控制单元和天线构成,其功能包括发射射频信号激活标签、接收并解码标签返回的数据,以及与后台系统通信,读写器分为固定式(如门禁系统)和手持式(如盘点设备),工作频率覆盖低频(125-134kHz)、高频(13.56MHz)、超高频(860-960MHz)和微波(2.45GHz/5.8GHz),不同频率对应不同的穿透能力和通信距离。
-
应用软件:负责数据处理与管理,包括读写器配置、数据过滤、加密解密及与数据库的交互,物流系统中,软件需将标签读取的货物信息同步至仓储管理系统,实现库存自动化更新。
信号传输与耦合机制
RFID的通信原理基于电磁感应或电磁波散射,具体取决于工作频率:

- 低频/高频(LF/HF):采用电感耦合方式,读写器天线产生交变磁场,标签天线通过线圈切割磁感线产生感应电流,为芯片供电,典型应用如门禁卡(13.56MHz),其穿透力强(可穿透水、金属等介质),但通信距离较短(lt;1米)。
- 超高频/微波(UHF/Microwave):采用电磁波散射(雷达原理),读写器发射电磁波,标签接收后通过调制反射波(如 backscatter 技术)返回数据,UHF标签(如860-960MHz)通信距离可达10米以上,但易受金属和液体干扰,多用于仓储盘点、零售结算等场景。
信号传输过程中,读写器与标签需遵循相同通信协议(如ISO/IEC 18000系列、EPC Global Class-1 Gen-2),确保频率匹配、数据编码一致(如FM0、Miller编码)和防冲突算法(如ALOHA、二进制树搜索)的正确执行,以避免多标签同时响应时的数据碰撞。
数据流程与操作步骤
RFID系统的完整数据流程分为五个阶段:
- 激活阶段:读写器以特定频率发射射频信号,激活工作范围内的无源标签;有源标签则主动周期性发送信号。
- 指令传输:读写器发送指令(如读取、写入、锁定),指令通过ASK(幅移键控)或FSK(频移键控)调制后加载到载波上。
- 数据回传:标签接收到指令后,通过芯片逻辑电路处理数据,并通过改变天线阻抗(UHF)或负载调制(HF)方式返回数据,数据通常包含 preamble、ID码、校验位等结构,采用曼彻斯特编码或BPSK调制。
- 解码与校验:读写器接收回传信号后,解调并解码数据,通过CRC校验确保数据完整性,错误数据则触发重传机制。
- 数据交互:有效数据传输至后台系统,应用软件进行业务逻辑处理(如更新库存、记录物流轨迹),并可能触发读写器执行后续操作(如写入新数据)。
关键技术参数与性能影响
| 参数 | 说明 | 对系统的影响 |
|---|---|---|
| 工作频率 | LF/HF/UHF/Microwave,各频段特性不同 | 频率越高,通信距离越远,但穿透能力越弱;UHF适合远距离,HF适合近距离抗干扰场景 |
| 读写距离 | 标签与读写器的有效通信距离(从几厘米到数十米) | 取决于标签类型、发射功率及天线增益;有源标签距离最远,无源标签依赖环境因素 |
| 数据速率 | 单位时间内传输的数据量(典型值:LF/HF约几十kbps,UHF可达几百kbps) | 速率越高,多标签识别效率越高,但需平衡功耗与抗干扰能力 |
| 防冲突机制 | 多标签同时响应时的仲裁算法(如Q算法、时隙ALOHA) | 决定系统可同时识别的最大标签数量(UHF可达数百/秒) |
| 安全性 | 加密算法(如AES、DES)、认证协议(如Challenge-Response) | 防止数据被窃取或篡改,尤其在支付、身份识别等敏感场景中至关重要 |
典型应用场景中的原理适配
- 零售供应链:采用UHF RFID标签,在出入库时通过固定读写器批量读取商品信息,实现秒级盘点,数据实时同步至ERP系统,提升库存周转率。
- 智能交通:车辆安装5.8GHz微波标签,读写器通过ETC车道天线完成车辆识别与扣费,利用高速移动下的多目标识别技术(防冲突算法)确保通行效率。
- 医疗管理:HF RFID标签用于患者腕带,读写器在病房门口自动读取患者信息,结合加密技术保障隐私,防止医疗事故。
相关问答FAQs
Q1:RFID标签与条形码的主要区别是什么?
A1:RFID标签通过无线电通信实现非接触式读取,支持多标签批量识别(可同时读取数百个标签)、数据可重复擦写(达10万次以上),且穿透性强(可穿透非金属材料);而条形码需光学扫描,一次只能读取一个,数据不可修改,易受污损影响,RFID标签可存储更多数据(如128位以上ID),成本虽高于条形码,但在自动化管理场景中效率优势显著。
Q2:如何选择适合的RFID工作频率?
A2:选择频率需综合考虑应用场景需求:①若需穿透金属或液体介质(如医疗植入物、工业零件),优先选LF/HF(13.56MHz);②若需远距离识别且环境干扰少(如物流托盘、仓储管理),选UHF(860-960MHz);③若需高速移动场景(如ETC),选微波(5.8GHz),需符合当地无线电频谱规定(如中国UHF频段为920-925MHz),并评估标签成本与读写器部署复杂度。

